Ситуация такая, арена мессоров снабжена 4-я отверстиями для вентиляции. 3-и отверстия в стенках аквариума (1-2см) и 4-е в крышке (50мм)
Несмотря на имеющиеся отверстия, если кормить муравьев зоофобусом, курицей то на арене образуется неприятный, тяжело выветриваемые естественной вентиляцией запах. И стоп, вопрос не в гниении, или моем якобы безалаберном отношении к пищи любимцев, я считаю, что арена должна быть наполнена свежим воздухом, а не застойным.
Также полагаю сей агрегат будет эстетично выглядеть т.к. хочу встроить в него подсветку.
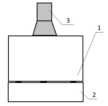
Общий вид.
1- плита;
2- арена;
3 - вытяжка;

Вид вытяжки с верху.
1- необходимый диаметр трубы 113, 130 см.

В следствие указанного, возник ряд вопросов следующего характера:
Имеются стандартные вентиляторы от компа:
80х80 12в 0,15а размер по диагонали: корень из 2 * 80 или 113,1 см.
92х92 12в 0,15а размер по диагонали: корень из 2 * 92 или 130,1 см.
Таким образом, стало весьма затруднительным найти подходящую, легкую трубу, ибо канализационные трубы имеют диаметр: 110, 160+. Делать из пластиковых бутылок что-либо не хочу, поскольку это не кошерно, уж как-то на столе агрегат стоит и хочется нанотехнологий а не бутылочного декора.
1-включатель;
2-блок питания;
3-димер или кнопка переключения полярности;
4-куллер;
5-трубка;

И так назрел первый порос: может ли кто посоветовать трубу из под чего-либо, что бы в нее мог поместиться куллер 80х80 или 92х92, соответственно Ф= 113,1 см и Ф= 130,1 см? Гуглил и пока мыслей нет, и у кого мне же теперь спросить кроме Вас коллеги.
Второй вопрос, я не электрик и мне посчитать тяжело следующее: у куллера характеристика 0,15А или 150 миллиампер, вроде так. Таким образом, для питания куллера, какой можно взять блок питания светодиодной ленты? Почему блок питания именно для (от) светодиодной, ну потому что его проще будет закрепить на внутренней стороне трубы, имеется много блоков с разными характеристиками, миниатюрность блока. Однако на таких блоках обычно пишут ватты. 1 метр ленты, 4,5 вт. и соответствующий блок питания тоже 4,5 вт + 30% мощности, как то так. И теперь не пойму какой мощности нужен блок мне на мои 0,15А.?
Третий вопрос: какой диммир, или переменный резистор можно использовать для того, чтобы снижать вольты и следовательно обороты куллера? Или нужно трансформатор или что-либо еще? В идеале конечно кнопочный переключатель вольт… типа 12-9-6.
Четвертый вопрос: какую кнопку можете посоветовать для того, чтобы изменять полярность и тем самым изменять направление вращения киллера?
Основной критерий при моем определении – возможность крепления на стенки вытяжки и управления с внешней стороны.
02.02.2015г. Обновление информации.
И так, идея по принудительной вытяжки реализована в моем варианте. Пользуюсь гаджетом для принудительной вентиляции закрытой арены.
Предлагаю ее на обозрение.
Составляющие:
- куллер компьютера 12v;
- пластиковая труба для слива;
- светодиодная лента 12v, исключительно в декоративных целях. Имеет цвет синий, но лучше использовать менее раздражительные цвета);
- кнопка;
- плотный картон для создания прокладки в котором крепится куллер;
- блок питания для светодиодной ленты, из расчета мощности: светодиодная лента + куллер;
В зависимости от необходимости, можно установить резистор и т.д. и т.п. дабы регулировать обороты куллера. Можно поставить заглушку с отверстием более мелкого размера, и организовать поток воздуха по усмотрению.
1 - Идеальная вентиляция арены -
Идеальная вентиляция арены - это снятая крышка, ИМХО. Ну, или сетка во всю крышку, если антипобег не справляется. Любая принудительная вентиляция при наличии вентиляционных отверстий в формикарии в той или иной степени создаст в нем сквозняк, что не есть халяль.
2 - Алексей Почапский ...
Для этого и диммер, меньше оборотов меньше сквозняка, если таковой вообще будет внутри форма. И, и я не намреваюсь мучить саму гипсовую плиту, вентиляция только арены и маломощная. Снизил обороты, освежил арену и только арену и все.
3 - Стас и я не намреваюсь мучить
Принудительная вентиляция создаст на арене избыточное или пониженное давление (в зависимости от направления вращения лопастей), и по градиенту давления начнет сквозить во все остальные отверстия, в т.ч. и через формикарий. Опять же, не обязательно. Если давление будет оперативно выравниваться через вентиляционные отверстия самой арены, т.е. по пути наименьшего сопротивления, то через форм воздух может и не пойти.
Но у себя я такое точно делать не буду.
4 - Мнеб главное чтобы подсказал как блок питания выбрать...
Мнеб главное чтобы подсказал как блок питания выбрать...
5 - Используйте принцип конвекции
Используйте принцип конвекции - над ареной должна висеть нагревающая лампа, а близко к дну арены должны быть вентиляционные сеточки. Через них, на замену горячему воздуху из под лампы будет поступать холодный и свежий.
6 - Mitya_ Используйте
Для моей арены этого оказалось мало.
7 - А вообще зачем это все ? Вон
А вообще зачем это все ? Вон люди строят большие формики и вполне себе замечательно обходятся пассивной вентиляцией. Зачем изобретать велосипед там где оно ненадо?
8 - 02.02.2015г. Обновление информации по моей вытяжке.
Составляющие:
- куллер компьютера 12v;
- пластиковая труба для слива;
- светодиодная лента 12v, исключительно в декоративных целях. Имеет цвет синий, но лучше использовать менее раздражительные цвета);
- кнопка;
- плотный картон для создания прокладки в котором крепится куллер;
- блок питания для светодиодной ленты, из расчета мощности: светодиодная лента + куллер;
В зависимости от необходимости, можно установить резистор и т.д. и т.п. дабы регулировать обороты куллера. Можно поставить заглушку с отверстием более мелкого размера, и организовать поток воздуха по усмотрению.
Фото выше.
9 - Обороты регулировать -
Обороты регулировать - транзистор еще понадобится.
А если хочешь чтобы схема сама включалась каждые 15 минут на 1 минутку, то придется собрать мультивибратор,
понадобится 2-3 транзистора(кт972а), 4-5 резистора (10ком), 2 конденсатора на 4700мкф.